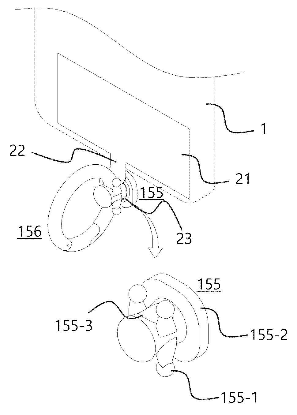
指环1
- 产品名称
- 指环1
- 材料
- 硅胶/TPU
- 颜色
- 尺寸/重量
- 制造国家
- 中国 OEM
- 设计
- TL Global Ltd. (大韩民国)
- 制造及销售商
- TL Global Ltd. (大韩民国)
- 专利
- - 10-2023-0111616(KR) - ZL202322567676.6(CN) - 10-2024-0127652(KR) - 113210201(TW) - 202322567676.6(CN) - HAGUE DM/238465 - 00000000000(IN) - 00000000000(ID) - D236145(TW) - 202417428(AU) *请注意:目前只有在本网站注册的销售账户才能进行批发销售。从其他供应商处购买可能构成专利侵权,因此可能无法销售。买家请务必注意。
- 购买

